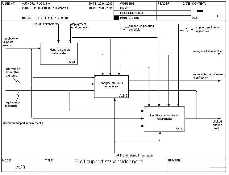
PLCS Application Activity Model - A231: Elicit support stakeholder need
elicit_support_stakeholder_need analyze_previous_experience identify_standardization_requirement identify_support_stakeholder allocated_support_requirements apsi_and_related_information deployment_environment elicited_support_need feedback_on_support_needs information_from_other_systems list_of_stakeholders recognized_stakeholder request_for_requirement_clarification requirement_feedback support_engineering_objectives support_engineering_schedule index entry index entry